سافت گذر دانشنامه نرم افزار - دانلود رایگان نرم افزار

همه دسته بندی ها

منو
آیکون جستجو در سایت سافت گذر
اطلاعیه های مهم سایت اطلاعیه های مهم سایت
💐 میلاد زینت پدر حضرت زینب سلام الله علیها مبارک باد 💐
 
 
  1. جهت رفع مشکل باز شدن سایت به دلیل بلاک توسط  نود 32 این ویدیو یا این ویدیو(ورژن 9 به بالا) یا راهنمای تصویری را مشاهده کنید
  2. به مناسبت ماه رجب، در سایت https://esetupdate.ir/ تخفیف ویژه‌ای برای محصولات در نظر گرفته شده است؛ فرصت را از دست ندهید. 🌸
  3. اکانت های بروزرسانی نود32 با قیمت های مناسب به صورت یک ، سه ، شش و دوازده ماهه از اینجا قابل خرید می باشد.

نرم افزار های پرکاربرد

ثبت نام | ورود

اخبار موبایل

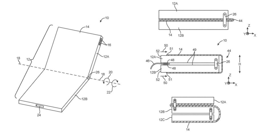
گزارش ویژه؛ آیا اپل آیفون تاشو تولید می‌کند؟

پس از ترندهای مختلف در بازار گوشی‌های هوشمند، این‌بار شرکت‌های بزرگ سراغ نسل جدیدی از موبایل‌ها رفته‌اند؛ گوشی‌های تاشو. سامسونگ و هوآوی تا کنون از محصولات تاشو خود به نام‌های گلکسی فولد و هوآوی میت ایکس رونمایی کرده‌اند و انتظار می‌رود دیگر کمپانی‌ها نیز وارد این عرصه شوند اما نامی که بیشتر از همه منتظرش هستیم، اپل است. حالا باید ببینیم مالک iOS اصلاً حاضر خواهد شد وارد این رقابت جذاب شود یا خیر. با سافت گذر همراه باشید تا به این سؤال پاسخ دهیم.

اپل آیفون گوشی تاشو گوشی تاشو سامسونگ گلکسی فولد گوشی تاشو هوآوی هوآوی میت ایکس گوشی تاشو اپل

اگرچه نمی‌توانیم با قطعیت بگوییم که اپل در حال تولید چه محصولی است ولی دلایل زیادی وجود دارد که نشان می‌دهند مالک آیفون‌ها اصلاً نیازی به تولید گوشی تاشو ندارد و بهتر است این‌گونه دستگاه‌ها را بعداً بسازد.

عدم آمادگی تکنولوژی گوشی‌های تاشو

اپل آیفون گوشی تاشو گوشی تاشو سامسونگ گلکسی فولد گوشی تاشو هوآوی هوآوی میت ایکس گوشی تاشو اپل
نمایشگر نامساوی هوآوی میت ایکس

همه می‌دانند که گلکسی فولد و هوآوی میت ایکس در بازار گوشی‌های هوشمند موفق نخواهند شد بلکه قرار است راه را برای نسل‌های آتی این نوع دستگاه‌ها هموار کنند. ضمن اینکه با توجه شیوه معرفی آنها در MWC، کاملاً مشخص بود که هنوز مشکلات زیادی در تولیدشان وجود دارد که از آن جمله می‌توانیم به نمایشگرهای نامساوی در هر دو مدل اشاره کنیم.

با این حساب، روشن است که چرا اپل سراغ این فناوری نمی‌رود زیرا تکنولوژی مربوط به ساخت گوشی‌های تاشو هنوز جوان است و در اول راه قرار دارد و برای تولید این نوع دستگاه‌ها باید مشکلاتی از جمله دوام گوشی‌ها، طراحی، برآمدگی‌ها در صفحه نمایش و . . . حل شوند. البته ظاهر گلکسی فولد و هوآوی میت ایکس بسیار زیباست اما باید این شیوه طراحی را تنها نوعی نمونه کار بدانیم.

دلیل دیگر به قیمت مربوط است. کاملاً مشخص است که کسی حاضر نخواهد بود برای یک گوشی 2000 تا 2500 دلار پول پرداخت کند به همین دلیل اپل نیز از این موضوع به خوبی آگاهی دارد بنابراین تصمیم عقلانی آن است که فعلاً وارد این حوزه نشود.

کسب آگاهی بهتر از تجارت آیپدها

اپل آیفون گوشی تاشو گوشی تاشو سامسونگ گلکسی فولد گوشی تاشو هوآوی هوآوی میت ایکس گوشی تاشو اپل
ظاهر آیپد که به گوشی تاشو شبیه است

اپل در کنار آیفون‌ها، آیپد نیز تولید می‌کند بنابراین اگر این کمپانی یک‌دفعه گوشی تاشو بسازد دیگر کمتر کسی سراغ این تبلت‌ها خواهد رفت. به علاوه، همیشه آمار فروش تبلت‌ها نزولی بوده ولی اپل توانسته آیپدهای خود را به خوبی به فروش برساند به طوری که بعضاً با آمار فروش برخی نسخه‌های گلکسی اس نیز برابری می‌کند به همین دلیل اپل نباید فروش 10 میلیون تبلت در هر سه‌ماهه سال را نادیده بگیرد.

در اینجا باید اشاره کنیم که اپل نشان داده همیشه به دنبال تولید محصولات باکیفیت است حال فرقی نمی‌کند که آن دستگاه آیفون است یا آیپد. با این تفاسیر، یک گوشی تاشو اپل باید هم ضخیم باشد و هم سنگین حال آن‌که گلکسی فولد و هوآوی میت ایکس نهایتاً 300 گرم وزن دارند. در این میان، کمتر کسی حاضر می‌شود یک گوشی 300 گرمی در جیب خود قرار دهد بنابراین چنان‌چه اپل یک دستگاه تاشو تولید کند، باید بازار تبلت‌هایش را فدا نماید که قطعاً تصمیم درستی نخواهد بود. البته اگر بخواهیم شاهد گوشی تاشو اپل باشیم، باید پردازنده‌های قوی‌تر، پشتیبانی از قلم، اسپیکرهای قدرتمندتر و . . . را در آنها ببینیم.

عدم علاقه به قسمت‌های متحرک

اپل آیفون گوشی تاشو گوشی تاشو سامسونگ گلکسی فولد گوشی تاشو هوآوی هوآوی میت ایکس گوشی تاشو اپل

اخیراً در صنعت گوشی‌های هوشمند، سخت‌افزارها جای خود را به نرم‌افزارها داده‌اند و ویژگی‌های مربوط به گذشته از بین رفته‌اند که از آن جمله می‌توانیم به کنار رفتن کیبوردها و جای‌گزینی آنها با صفحه نمایش لمسی اشاره کنیم.

خب، حالا با این حساب اپل باید چگونه از تکنولوژی گوشی‌های تاشو استفاده کند؟ خودِ این کمپانی بر این باور است که باید این فناوری به آن سطح از بلوغ برسد تا شرایط بهره‌گیری از آن مهیا شود. یکی از این قسمت‌های مهم، لولاهای گوشی‌های تاشو است. این قطعات باید بسیار قدرتمند باشند تا بتوانند در محصولاتی که مشتریان قرار است استفاده کنند، جای‌گیری نمایند. قسمت دیگر، فناوری واقعیت افزوده یا AR است که می‌توان با گوشی‌های تاشو راحت‌تر و سریع‌تر به منصه ظهور برسد و طبیعی است که اپل دوست دارد بخشی از این تکنولوژی باشد.

عجله‌ای برای تولید گوشی تاشو اپل نیست

اپل آیفون گوشی تاشو گوشی تاشو سامسونگ گلکسی فولد گوشی تاشو هوآوی هوآوی میت ایکس گوشی تاشو اپل

در حالی که پرچمداران سامسونگ مانند گلکسی اس 9 (و شاید گلکسی اس 10) آمار فروش خوبی از خود به ثبت نرسانده‌اند، شرایط فعلاً بر وفق مراد اپل در حال رقم خوردن است. به علاوه، با نارضایتی نسبتاً گسترده از محصولات کمپانی کره‌ای، هیچ بعید نیست که سامسونگ رویه خود را تغییر داده و سراغ گوشی‌های تاشو برود. چنین شرایطی فضا را برای تولید گوشی تاشو 1000 دلاری برای اپل فراهم خواهد کرد.

با این حساب، اصلاً نیازی به عجله کردن برای تولید گوشی تاشو توسط اپل احساس نمی‌شود و بهتر است این شرکت یکی دو سالی صبر کند تا تکنولوژی مربوط به این دستگاه‌ها به پختگی کامل برسد و آن زمان وارد عرصه شود.

گوشی تاشو، بهانه مناسب برای افزایش قیمت

اپل با معرفی آیفون ایکس و آیپد پرو، استراتژی خود مبنی بر افزایش قیمت محصولاتش را نشان داد تا پاسخی باشد به تولیدات محافظه‌کارانه گوشی‌های پیشرفته دیگر شرکت‌ها.

در این بین، یک آیفون 1500 دلاری کاملاً مناسب چنین بازاری است تا به اپل اجازه دهد باز هم قیمت محصولاتش را بالا ببرد. البته این ایده به معنای صبر کردن اپل نیز هست یعنی این کمپانی می‌خواهد کمی زمان بگذرد تا هزینه تمام شده قطعات سازنده گوشی‌های تاشو کاهش یابد و سپس این نوع دستگاه‌ها را بسازد تا قیمت آنها از 2000 دلار فراتر نرود.

با این حساب، باز هم اشاره می‌کنیم که هنوز خیلی زود است که بخواهیم در مورد گوشی تاشو اپل با قطعیت نظر بدهیم و هرچند پتنت‌های زیادی تا کنون مشاهده شده ولی هنوز هیچ‌کدام از آنها به تأیید خودِ اپل نرسیده‌اند.

با تمام این توضیحات، بهتر است اپل در آینده گوشی تاشو روانه بازار کند و منظور ما از آینده قطعاً یک یا دو سال آینده می‌باشد چرا که شواهد و قرائن بیانگر این هستند که اپل فعلاً تصمیمی برای تولید دستگاه تاشو اتخاذ نکرده است.

شما در این‌باره چه فکر می‌کنید؟ آیا اپل عجله‌ای برای تولید گوشی تاشو دارد یا خیر؟ آیا باید به گلکسی فولد و هوآوی میت ایکس پاسخ مناسبی بدهد یا خیر؟ نظر خود را با دیگران در قسمت انتهای خبر به اشتراک بگذارید.


منبع: phonearena.com
نظرتان را ثبت کنید کد خبر: 44321 گروه خبری: اخبار موبایل منبع خبر: سافت گذر تاریخ خبر: 1397/12/13 تعداد مشاهده: 3481
اخبار مرتبط با این خبر
نظر های کاربران
سرور آپدیت نود 32
پیشنهاد سافت گذر
مکمل های درمانی با میوه ها

مکمل های درمانی با میوه ها

خواص میوه ها

Memory Optimizer Pro 1.2.5 for Android +2.2

Memory Optimizer Pro 1.2.5 for Android +2.2

بهینه سازی مموری

Empire Total War

Empire Total War

امپراتوری - جنگ تمام‌عیار

Kids Shape Puzzle Lite 2.3 for Android

Kids Shape Puzzle Lite 2.3 for Android

بازی سرگرم کننده پازل برای کودکان پیش‌دبستانی با گرافیک‌های زیبا

JPEGmini Pro 4.1.3.3 (x64)

JPEGmini Pro 4.1.3.3 (x64)

تبدیل ویدئو

Revolver360 ReActor

Revolver360 ReActor

رولور360 رآکتور

Loreena McKennitt The Visit

Loreena McKennitt The Visit

موسیقی بیکلام از لورنا مک کنیت

Virtual Farm

Virtual Farm

مدیریت مزرعه کوچک

Claystone Launcher Pro 2.5 for Android +2.1

Claystone Launcher Pro 2.5 for Android +2.1

لانچری متفاوت

Lucid Launcher Pro 6.0241 for Android +3.0

Lucid Launcher Pro 6.0241 for Android +3.0

لانچر لوسید

مجله تخصصی طراحی داخلی و محوطه سازی

مجله تخصصی طراحی داخلی و محوطه سازی

مجله Architectural Digest USA فوریه 2021

مجله تخصصی برای علاقه مندان به دنیای کودکان

مجله تخصصی برای علاقه مندان به دنیای کودکان

مجله The Beano ژانویه 30 ؛ 2021

ماهنامه دانشجویار شماره 1 تا 15

ماهنامه دانشجویار شماره 1 تا 15

مجله دانشجویار

Enter the Gungeon - A Farewell to Arms

Enter the Gungeon - A Farewell to Arms

اکشن دوبعدی برای کامپیوتر

Getting Over It with Bennett Foddy + Updates

Getting Over It with Bennett Foddy + Updates

اکشن

Technobabylon

Technobabylon

تکنوبابیلون

Pink Floyd - The Dark Side of the Moon

Pink Floyd - The Dark Side of the Moon

آهنگ های پینک فلوید

سخنرانی حجت الاسلام پناهیان درمورد مقدرات الهی در زندگی انسان

سخنرانی حجت الاسلام پناهیان درمورد مقدرات الهی در زندگی انسان

سخنرانی حجت الاسلام پناهیان با موضوع نقش مقدرات الهی در زندگی انسان

Active@ Data Studio 25.1.7

Active@ Data Studio 25.1.7

مدیریت، بازیابی و محافظت از داده‌ها

Windows Installer 4.5

Windows Installer 4.5

ابزار ضروری نصب کنندهٔ نرم‌افزار و پیکربندی سرویس‌ها برای ویندوز

Yury

Yury

یوری

راهنمای Opengl

راهنمای Opengl

آموزش نرم افزار Opengl به زبان فارسی

آموزش تصویری تغییر سایز پارتیشن با نرم افزار Paragon Hard Disk Manager

آموزش تصویری تغییر سایز پارتیشن با نرم افزار Paragon Hard Disk Manager

آموزش تغییر سایز پارتیشن

Mindball Play

Mindball Play

توپی مرحله ای

Udemy - Complete Altair Hypermesh & Optistruct Course

Udemy - Complete Altair Hypermesh & Optistruct Course

آموزش هایپرمش

Viking Squad

Viking Squad

جوخه وایکینگ ها

Internet Download Manager (IDM) 6.42 Build 58 Retail Final

Internet Download Manager (IDM) 6.42 Build 58 Retail Final

اینترنت دانلود منیجر

Autodesk 3ds Max 2014 Sp1 x64 + Extension

Autodesk 3ds Max 2014 Sp1 x64 + Extension

جدیدترین نسخه برنامه تری دی مکس برای ساخت انیمیشن های پیشرفته و سه بعدی

NetSpot Unlimited Enterprise 4.0.0.609

NetSpot Unlimited Enterprise 4.0.0.609

بررسی و مدیریت وای فای

Hibernation Manager Premium 2.3 for Android +2.3

Hibernation Manager Premium 2.3 for Android +2.3

خواب زمستانی برنامه ها هایبرنیشن

خاطرات ع‍ب‍دال‍رض‍ا ه‍وش‍ن‍گ‌ م‍ه‍دوی‌

خاطرات ع‍ب‍دال‍رض‍ا ه‍وش‍ن‍گ‌ م‍ه‍دوی‌

پهلوی دوم محمدرضا شاه

Brave Guardians 3.0.6 for Android +4.0

Brave Guardians 3.0.6 for Android +4.0

نگهبانان شجاع

بررسى تاریخ مکتب تشیع و گرایش‌هاى آن

بررسى تاریخ مکتب تشیع و گرایش‌هاى آن

تاریخ و گرایش‌ها، مبانى و دیدگاه‌هاى خاص مکتب تشیع

تلاوت مجلسی استاد محمد صدیق منشاوی سوره مبارکه بقره

تلاوت مجلسی استاد محمد صدیق منشاوی سوره مبارکه بقره

تلاوت محمد صدیق منشاوی سوره بقره

اهمیت تفکر عقلانی

اهمیت تفکر عقلانی

ماهنامه فرهنگی و الکتورنیکی عقلانیت و جوان

Control Ultimate Edition

Control Ultimate Edition

کنترل

Google Messages 20251121 For Android +8.0

Google Messages 20251121 For Android +8.0

گوگل مسج

Pro Evolution Soccer 2015 PS3

Pro Evolution Soccer 2015 PS3

فوتبال تکاملی حرفه‌ای 2015 برای کنسول پلی‌استیشن 3

Rayman Jungle Run 2.4.3 for Android +2.3

Rayman Jungle Run 2.4.3 for Android +2.3

ریمن: فرار در جنگل

مداحی حاج محمود کریمی سال 93

مداحی حاج محمود کریمی سال 93

مداحی کریمی سال 93

خبرنامه

با عضویت در خبرنامه، زودتر از همه باخبر باش!